
来源:猎云精选,文/王非
深圳,又一家机器人公司递表港交所。
2月13日,仓储机器人研发商深圳市海柔创新科技有限公司(下称:海柔创新)在港交所递交招股书,拟主板挂牌上市。
2025年9月,工业机器人上市潮曾迎来一波高峰:9月26日,优艾智合冲刺港股“移动操作机器人第一股”;9月28、29日,微亿智造、珞石机器人分别冲刺“工业具身智能机器人第一股”、“全系列智能机器人第一股”。
除极智嘉于2025年7月登陆港股外,据不完全统计,包括上述4家公司在内,共有迦智科技、卡诺普机器人、梅卡曼德机器人、快仓智能、斯坦德机器人、乐动机器人、仙工智能等,超10家工业机器人公司递表港交所。
值得一提的是,上述公司中乐动机器人来自深圳南山区,此次此次冲刺港股IPO的海柔创新则来自深圳宝安区。
近年来,深圳以“全链创新+产业赋能”加快拓展机器人这一赛道,发展至今,该地机器人企业数量、产值均居全国首位,更构建了从核心部件到整机生产的完整产业链。
2025年4月发布的《深圳市机器人产业发展白皮书(2024年)》显示,2024年深圳机器人企业数量达74032家,产业链总产值首次突破2000亿元,达2012亿元,同比增长12.58%;全年发生72起融资事件,占全国比例24.91%。
红杉IDG五源下注,李泽湘高秉强甘洁都来了
海柔创新创始人&CEO陈宇奇,1989年出生于安徽芜湖,本科毕业于香港理工大学电子系,硕士毕业于苏黎世联邦理工大学机器人专业。值得一提的是,他的毕业设计正是料箱机器人。
2014年2月至2016年12月,陈宇奇曾创办香港普格精密系统有限公司。经历第一次创业后,他回到了熟悉的机器人领域,携手苏黎世联邦理工大学同学,于2016年12月共同创立了海柔创新。
一个不容忽视的背景是,随着电商的崛起,物流仓储环节的效率问题成为行业痛点,于是不少对标国外Kiva机器人的企业在2016年前后相继成立,例如快仓、极智嘉、水岩科技等。
相对来说,海柔创新不算最早入局者,却通过近10年持续深耕,成长为全球6大仓储机器人独角兽之一。
2025年6月,胡润研究院发布的《2025全球独角兽榜》显示,截至2025年1月1日,移动机器人领域(工业及仓储物流)共有6家独角兽企业,分别是:极智嘉、Locus Robotics、Exotec、Dexterity、海柔创新、快仓智能。其中,海柔创新估值90亿元,略高于快仓智能的73亿元。

名校毕业、二次创业、站上风口,无论哪一个标签都足以吸引一级市场下注。成立至今,海柔创新在9年多的时间里,密集完成14轮融资(不算股权转让),吸引联想之星、零一创投、百世快递、华登国际、源码资本、五源资本、红杉中国、今日资本等知名机构接连下注。
值得一提的是,2016年12月成立时,在粤港澳大湾区颇有盛名的“黄金铁三角”——李泽湘教授、高秉强教授、甘洁教授,共同执掌的XBOT PARK基金(原香港清水湾创业基金),就成为了海柔创新的创始股东,持股比例达10%。
就在2026年1月,海柔创新刚刚完成其Pre-IPO+轮融资,吸引私募股权公司泛大西洋资本集团(General Atlantic)、方源资本(Intelligence、源新创盈)、IDG资本(珠海成源)入股。至此,海柔创新累计获得约12.48亿元+4.18亿美元融资,约合41.33亿元。
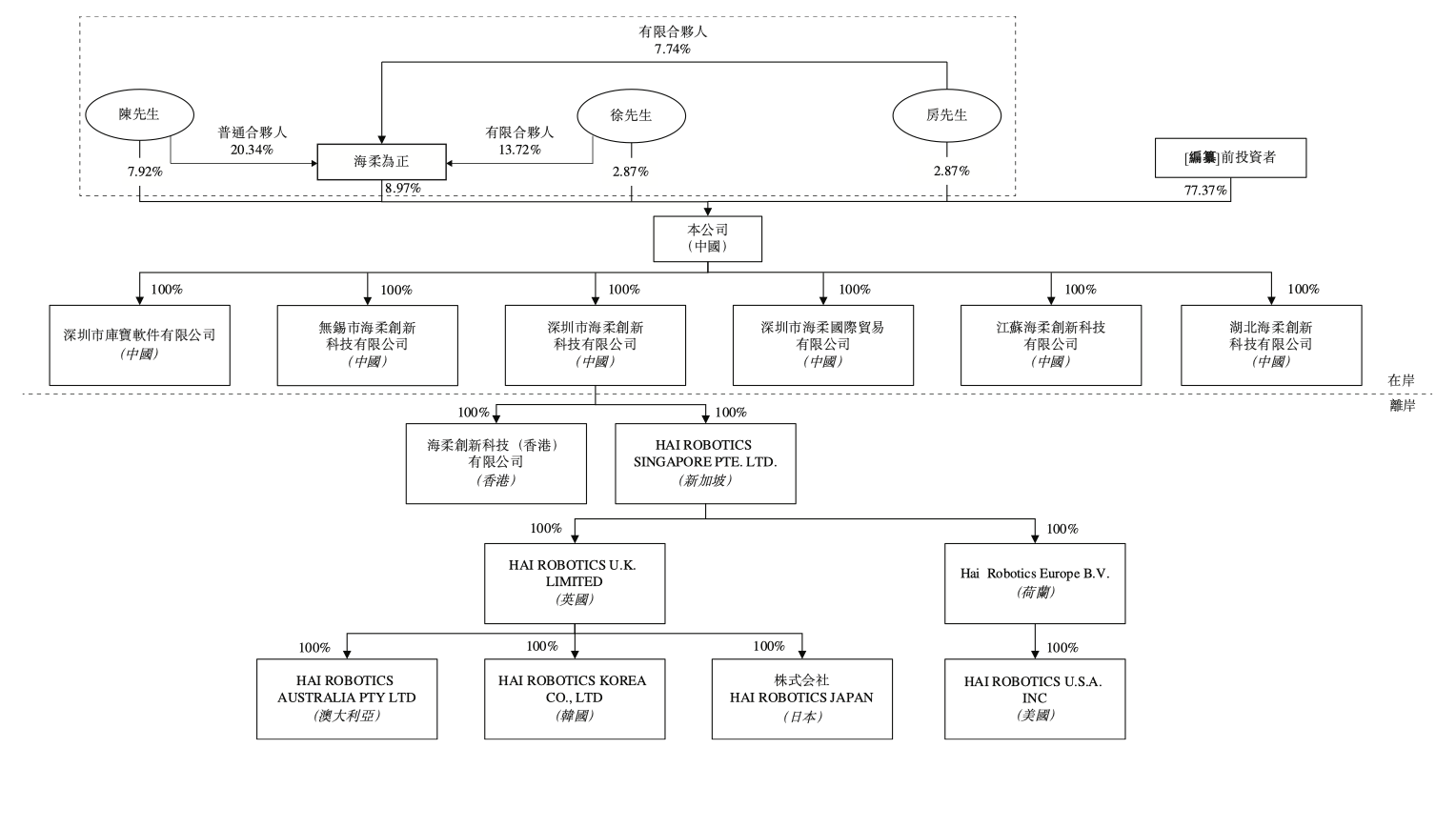
IPO前,陈宇奇直接持有海柔创新7.92%股份,有63.23%投票权,徐圣东、房冰分别持股2.87%,有1.14%投票权,三人为一致行动人士;员工持股平台海柔为正持股8.97%,有3.58%投票权。

此外,五源资本合计持有海柔创新14.53%股份,系第一大外部股东;泛大西洋资本集团持股12.06%;源码资本合计持股10.85%;今日资本合计持股10.79%;IDG资本持股5.78%;红杉中国合计持股4.56%;XBOT PARK基金(松山湖机器人研究院)持股0.22%
去年前三季度收入超12亿,期内累计亏损超28亿元
作为仓储自动化领域的全球领军企业,海柔创新专注于拣选的自动化-拣选是仓库中最为劳动密集及耗时的活动。根据灼识咨询的资料,于2024年,海柔是全球最大的ACR解决方案提供商,按收入及出货量计,其市场份额超过30%。
海柔创新发明了一体化自动化箱式仓储机器人(ACR)解决方案,用于自动拣选以及搬运仓库中的个别货箱。通过其解决方案,海柔创新能帮助客户增加存储密度、提升运营效率、加速履约订单并降低劳动成本。海柔创新为企业客户提供完全一体化的解决方案,结合机器人及相关硬件、软件以及全套辅助支持及服务。

值得一提的是,于2025年,海柔创新推出了HaiPick Climb,成为全球ACR方案市场上首款实现大规模商用的单边爬升ACR解决方案。根据灼识咨询的资料,HaiPick Climb在新建及改装仓储设施中均支持高达15米的存储高度,为同类产品中最高。
成立至今,海柔创新的业务足迹延伸至大陆市场及大陆以外市场(包括美洲、EMEA、日本及亚太其他地区)的40多个国家及地区,截至2025年9月30日止九个月,来自大陆以外市场的订单量占其总订单量的50%以上。
招股书显示,2023-2024年及2025年前三季度(下称:报告期),来自大陆以外市场的收益分别占海柔创新同期总收益的24.2%、38.1%、39.6%。
海柔创新的ACR解决方案部署于由各类企业(包括仓库营运商、物流服务提供商、零售集团及制造企业)营运的仓库,涵盖服装及时尚、电子商务及零售、食品及饮料、第三方物流、医药、3C电子及汽车等主要垂直领域。
截至2025年9月底,海柔创新已与超过800名客户(包括直接客户及渠道合作伙伴)签订合同,以部署其ACR解决方案。
报告期内,海柔创新的收入分别约8.07亿、13.60亿、12.63亿元;毛利分别约1.29亿、3.57亿、3.65亿元,毛利率分别为16.0%、26.3%、28.9%;净亏损分别约10.09亿、12.56亿、5.89亿元,累计亏损约28.53亿元。

截至2025年9月底,海柔创新持有的现金及现金等价物约7.57亿元。
此次IPO,海柔创新拟将募资用于提升其技术能力及加速升级其ACR解决方案、软件及算法以及新一代技术栈;扩大其全球制造业务,并加强其供应链系统的韧性、可扩展性和质量一致性;加强其全球商业触达范围及服务能力;加强其全球人才基础及组织能力等。