
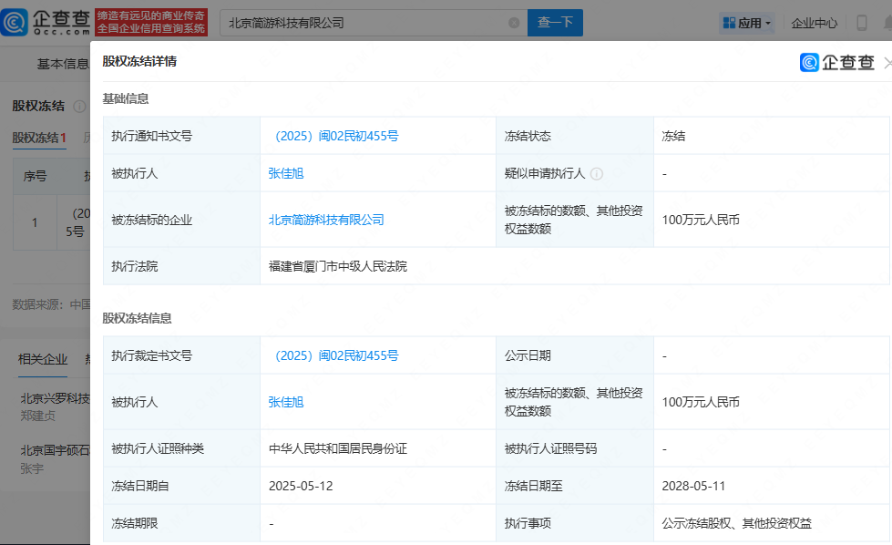
新京报贝壳财经讯 企查查APP显示,近日羊了个羊游戏关联公司北京简游科技有限公司新增一条股权冻结信息,被执行人为张佳旭,冻结股权数额100万元人民币,冻结期限为3年,执行法院为福建省厦门市中级人民法院。此外,张佳旭所持有的天津简乐企业管理咨询合伙企业(有限合伙)75万人民币股权也被冻结。
企查查显示,北京简游科技有限公司成立于2021年1月,法定代表人为张佳旭,注册资本约131.6万元,由张佳旭、厦门雷霆网络科技股份有限公司、天津简乐企业管理咨询合伙企业(有限合伙)共同持股。据报道,2022年羊了个羊游戏爆火,而张佳旭为该公司创始人。