12月21日消息,12月19日大模型第一股来了, 大模型厂商北京智谱华章科技股份有限公司(以下简称“智谱”)已率先通过港交所聆讯并正式递交了招股书,我们一起来看看智谱的业绩成色。
根据招股书,智谱的保荐商是中金公司,该公司成立于了2019年,2021年发布大模型框架GLM。2022 年,我们开源首个 1000 亿规模的模型 (GLM-130B) 。截至 2025 年 6 月 30 日,该公司大模型已为逾八千家机构客户提供支持;最新数据显示,已为约 80 百万台设备提供支持。

根据弗若斯特沙利文的资料,按 2024 年的收入计,智谱在中国独立通用大模型开发商中位列第一,在所有通用大模型开发商中位列第二,市场份额为 6.6% 。
下面这张图引发全网围观,鉴于kimi、 Minimax、百川智能等均未上市,且均未有公开披露的收入数据。所以,智谱招股书中披露了一批非独立大模型厂商,基本都是科技巨头涉足大模型,比如阿里、腾讯这些公司。
所以,智谱披露的其他四家厂商会是谁?A公司成立于1999年,深交所上市,金石杂谈查询发现,科大讯飞比较匹配,且拥有星火大模型;
B公司成立于1999年,港股和纽交所上市,阿里巴巴无论是时间还是上市区域均符合,阿里通义千问已处于世界领先水平,不过2024年收入只有3亿元人民币,还是多少让人意外。
C公司2014年成立,港交所上市,应该是商汤,旗下有日日新大模型;D公司2000年成立,则应该是百度,百度则拥有文心大模型。

截至目前,智谱围绕一体化 MaaS 平台组织产品供应, MaaS 平台主要提供四类模型:语言模型、多模态模型、智能体模型及代码模型以及用于模型微调、部署及智能体开发的集成工具。模型赋予AI三种能力:深度思考、认知世界以及工具使用。
其中,GLM-4.5是智谱的旗舰模型,9月开发了GLM-4.6,11月在 CodeArena 上位列全球第一。 GLM-4.6主要提升编码能力,发布即适配寒武纪、摩尔线程芯片。

业绩来看,智谱2022年至2024年及2025年中期分别实现收入5741万、1.24亿、3.12亿以及1.91亿;虽然,毛利率基本都超过了50%,但是由于营收规模太少,销售、行政以及研发开支太大,导致公司亏损严重。
同期,公司分别亏损1.43亿、7.88亿、29.56亿及23.58亿;2024年上半年亏损12.36亿,2025年亏损近乎翻倍。烧钱愈演愈烈,3年半的时间烧钱62.45亿。

智谱营收太少,导致行政开支也基本和公司总收入相当,而销售营销开支也是持续增加,2024年更是公司收入的3倍还多,大部分是广告开支和工资开支。
公司研发开支极大,报告期分别为0.84亿、5.29亿、21.95亿以及半年15.95亿,25年半年支出就是营收的9倍还多,主要是大幅增加了研发团队和对基座模型进行迭代。截至目前,公司共有883名员工,其中研发团队有657人。

就公司高层来说,49岁的刘德兵是智谱联合创始人兼董事长,他本科毕业于北京交大计算机科学与技术,在中科院计算技术研究所取得博士学位,曾在清华大学担任高级工程师。
46岁的张鹏博士,是公司的联合创始人兼首席执行官,是清华的高材生,并在2005年至2020年任职清华大学;还有一位执行董事比较吸睛,那就是28岁的张笑涵女士,是智谱的雇员董事,也是清华高材生。
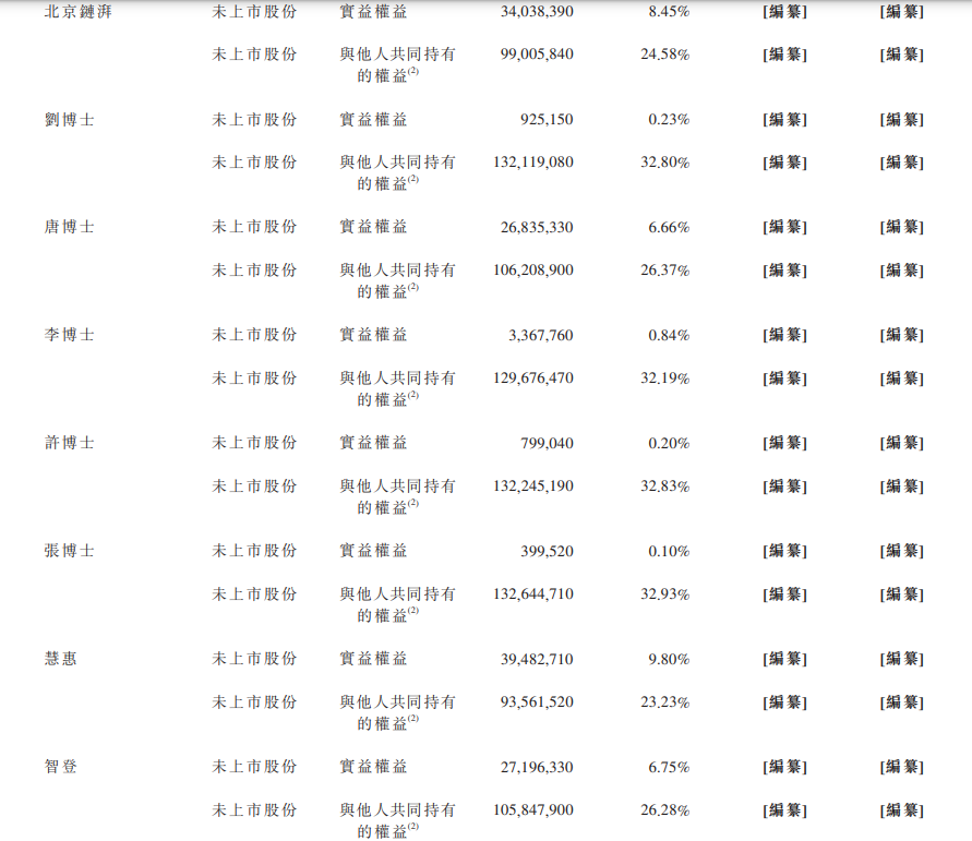
截至最新日期,北京链湃、刘博士、唐博士、李博士、许博士、张博士、慧惠 及智登根据彼等之间订立的一致行动人士协议共同拥有约 33.03% 股份权益,为智谱实控人。

根据持股数据,智谱吸引了一大批明星股东加持,君联资本持股6.73%,美团持股4.27%,蚂蚁集团持股3.99%,清华资管持股3.86%,“投资女皇”之称的徐新旗下的今日资本持股2.82%

根据招股书,智谱股份其实并不差钱,目前公司账上现金为25.52亿,但可动用现金高达89.43亿,包括:现金及现金等价物、按公允价值计入损益计量的短期投资及可动用承诺银行融资。根据其现金流量表,大部分资金来源基本是融资。

金石杂谈查询发现,智谱目前共进行了8轮融资,融资总额83.6亿元。其中,2022年1月,公司完成天使轮,北京创新智源科技有限公司以评估值2037万元知识产权进行了认购;
2022年5月完成A轮,共计融资1.52亿,私募通智投资投资4700万,湖南国有文化资管局旗下的达晨创鸿投资3700万,清华旗下私募平台北京华控投资2000万。

23年2月完成B1轮,融资2.08亿,主要是联想系的君联资本和知名VC启明创投参与融资,分别认购1.25亿和8300万。

8月完成B2轮,本轮融资4.1亿,其中美团认购3亿元;启明创投认购2095万,君联资本认购3138万,清华私募平台青岛华控投资1270万。

24年1月完成B3轮,共计融资6.09亿;23年11月,徐新投资2553万,蚂蚁集团投资1.5亿,君联资本再度投资3167万;24年1月,青岛华控再度投资3500万。

24年8月完成B4轮,本次吸引腾讯2亿元投资,雷军旗下顺为资本投资1.5亿,蚂蚁再度投资5000万,启明创投再度投资5000万,青岛华控投资5045万,君联资本旗下社保中关村创新基金投资9500万。

在24年11月的B5轮融资中,蚂蚁再度投资4个亿,君联资本2个多亿,招商数科6000万;
在B6轮中,海淀国资中关村科学城投资5个亿,大兴国资委投资3个亿,杭州城投投资3.5亿,成都国资高新策源投资3个亿,杭州上城投资1亿,北京国资人工智能产业基金投资2亿,珠海国资旗下珠海华发投资5个亿。

截至最后日期,华控资本持股2.06%,腾讯持股1.73%,浦东国资持股2.05%,珠海国资持股2.05%,人工智能产业基金持股1.98%,雷军旗下公司持股1.29%,杭州城投1.44%,成都国资1.23%。
