近日,2025第十三届郑州新能源汽车与光储充展览会在郑州国际会展中心启幕,展期三天,5月29日结束。
虽然是地区性汽车品牌与产业链上下游展会,但郑州车展依然吸引了国内众多车企参加。
在官方报道中,一家全新的汽车品牌赫然在列——金鱼汽车。

河南日报客户端
显然,这是汽车行业里的新面孔。
“金鱼”这一颇具乡野气息的名字被用来当汽车的品牌名,不得不佩服该公司激进且大胆的命名策略。令人好奇的是,在新能源汽车战场厮杀正酣、巨头林立之际,何方神圣竟敢踏险入局??
我们先来感受一下这家汽车新势力——金鱼汽车——的画风。

金鱼汽车官方微信公众号

车展现场
粗粝的“手作质感”仿佛是对工业美学的另类解构,硕大呆滞的车灯,将品牌名“金鱼”的鼓凸眼瞳演绎得活灵活现,横看法拉利,侧看保时捷,品牌方将借鉴精神发挥得炉火纯青……
其logo设计,与其说是金鱼,不如说是蝌蚪,如此抽象的视觉语言安排,让人怀疑要么是物种进化论错了,要么是Photoshop软件出了bug。

金鱼汽车官方微信公众号
展车身后是饱和值诡异的蓝色底加白字的介绍展板,更加映衬了红色车身的“熠熠生辉”。
从左侧技术介绍部分,我们能依稀能get到这是一家拥有“核心科技”的公司。毕竟金鱼汽车已经“全系”搭载了固态电池。
在只有两款车的情况下,金鱼汽车对“全系”一词的使用彰显了其“兵马未动,野心先行”的远景规划能力和遣词造句方面的东方智慧。
从宣传资料上看,金鱼汽车的固态电池已然“上车”,这显然打了宁德时代一个措手不及,也没给比亚迪和特斯拉留任何后路,想必雷军和小米汽车此刻也瑟瑟发抖了吧,毕竟这可比机盖挖孔的技术含量“不知道高到哪里去了”。

金鱼汽车官方微信公众号
“打造河南新能源汽车自主品牌”——这块横亘在展位顶部的硕大招牌,精准撩拨着中原大地的家园情怀。身为国家枢纽的郑州,纵横交错的动脉似乎天然呼唤着一款源出金水河的“本土座驾”。
拥有超越现实的技术实力和前卫设计语言的汽车品牌,更兼其坐拥“十省通衢”的地理正统,怎么能不跟全民分享这一财富盛宴呢?
全国人民不答应,金鱼汽车也绝不答应。
果然,金鱼汽车正在“诚招全国合伙人”,门槛很亲民,一千块钱就能当“一星合伙人”,最尊贵的“二星合伙人”也只需要一万块钱,一千块钱买不了吃亏,一万块钱买不了上当,还站在新能源汽车的万亿风口上……
财富自由的天使向你招手的姿势,是否似曾相识?
早起的鸟儿有虫吃。
早在3月份,一批“有识之士”已经提前登上了财富早班车。

大秦招商微信公众号

大秦招商微信公众号
今年3月,金鱼汽车就已经在河南召开了财富分享会,在分享会上,金鱼汽车的广告语直接对标宝马汽车——不是宝马开不起,金鱼汽车更有性价比。品牌口号也颇为押韵“牵手金鱼,年年富裕”。

大秦招商微信公众号
连“商鞅”老师都“穿越”回来为金鱼汽车“提魂”,也让一众“即将”财富自由的“合伙人”们感受了什么叫“相片赋能”。
历史上,商君终局乃惨遭车裂,彼时若金鱼汽车早生千年,以其固态电池之“澎湃动能”,车裂之刑的执行效率,恐当提升几何?
看来,“商鞅”老师与“车”还是很有缘分的,只是此“车”非彼“车”。

大秦招商微信公众号
财富分享会上,“实战派落地战神”上官老师亲自出马,用易经八卦之力为新能源汽车销路指点迷津,“金木水火土”中华五行的哲思奥义定会令券商汽车行业分析师们顿失颜色,上官老师在“前瞻视野与实战智慧的深度对话”中,带领金鱼汽车的家人们共襄即将引爆的财富盛宴。

大秦招商微信公众号

大秦招商微信公众号

大秦招商微信公众号
但不了解踊跃签约刷卡的“家人们”是否知道,承诺带领他们走上财富之路的金鱼汽车,连官网都无法打开。

企查查截图
甚至其官方微信公众号截至2025年5月30日一共就发过两篇文章,最早一篇发表于5月26日,也就是此届郑州车展开幕的前一天。

金鱼汽车官方微信公众号

微信视频号截图 金鱼汽车总经理朱钦澎接受《新能源纵横》采访
更吊诡的是,其官方微信公众号注册于2025年1月14日,在时间上甚至晚于金鱼汽车第一款车型在上一届郑州车展亮相的2024年6月。
是的,你没看错,这已是金鱼汽车第二次参加车展了。
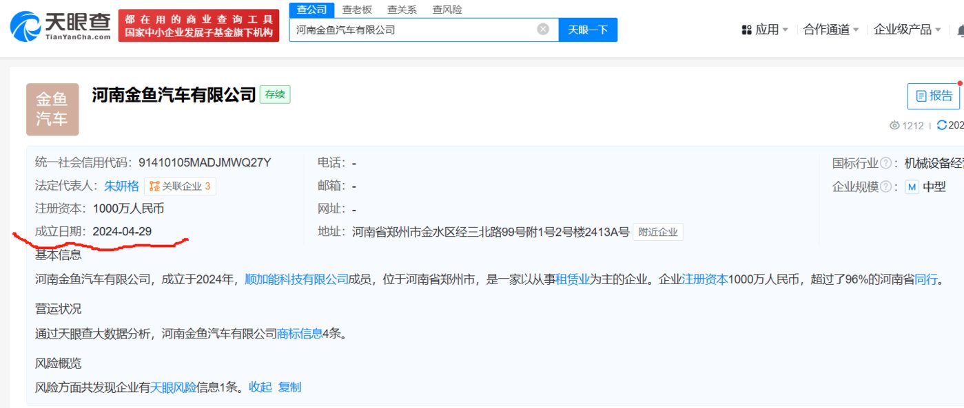
天眼查显示,河南金鱼汽车有限公司成立于2024年4月29日,也就是说公司成立的1个月后,金鱼汽车就完成了汽车研发、申报、测试等一系列工作,还去参加了当年6月份在郑州的车展,效率之高,堪称“光速”。

天眼查

天眼查
而当作者分别登录工信部“车辆生产企业信用管理系统”和“道路机动车辆生产企业及产品信息查询系统”这两个系统对“河南金鱼汽车有限公司”进行查询时,两个系统均无搜索结果呈现。
这艘宣称拥有“核心科技”的造车新势力,竟无任何只言片语在官方制造记录之上。

工信部“车辆生产企业信用管理系统”网站搜索结果截图

工信部“道路机动车辆生产企业及产品信息查询系统”网站搜索结果截图
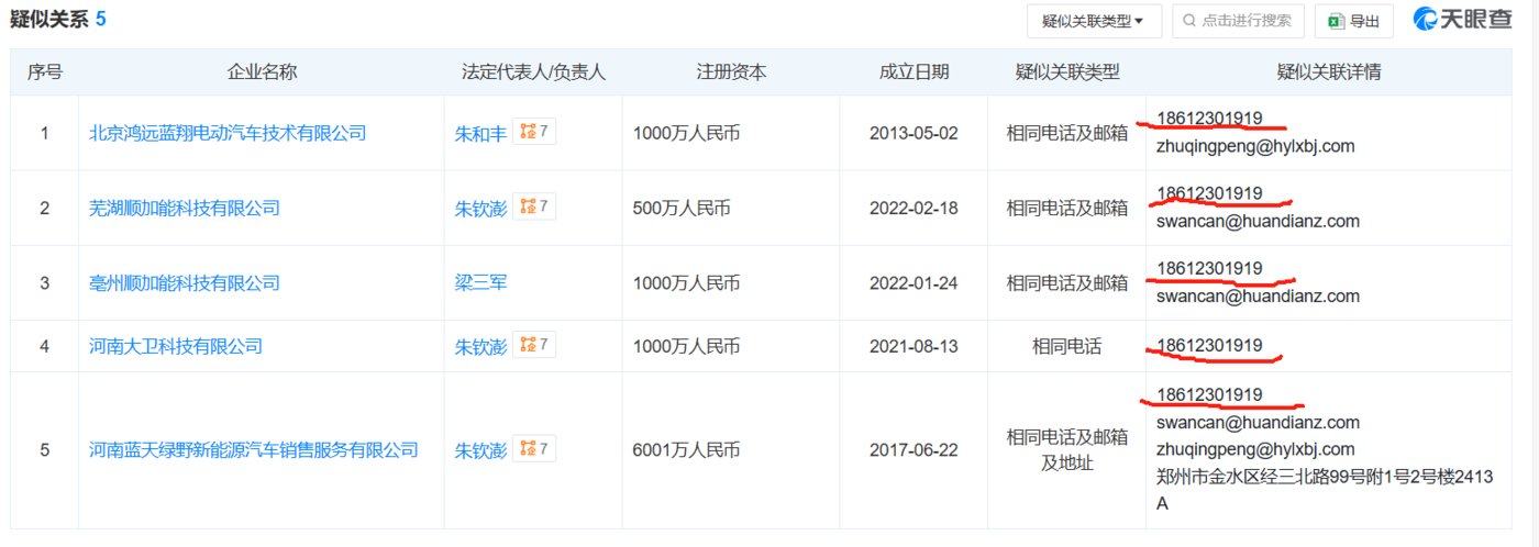
据天眼查显示,河南金鱼汽车有限公司的实际控制人为朱钦澎,其本人同时也是河南蓝天绿野新能源汽车销售服务有限公司、芜湖顺加能科技有限公司、河南大卫科技有限公司的实控人,而在深度疑似关系的查询中,作者发现远在北京的北京鸿远蓝翔电动汽车技术有限公司的实控人朱和丰与其颇有渊源,两人疑似在公司注册时使用了相同的手机号码和邮箱。

天眼查
而早在2013年,北京鸿远蓝翔公司还曾注册过用于汽车品牌的“斯诺登”商标,公司实控人朱和丰曾向媒体宣称,该公司之所以选中“斯诺登”这一商标名称,主要是因为其“技术来自数位国内外顶尖的专家组成的团队,研发出的一系列技术与斯诺登一样,集大量的秘密于一身,其中有一些技术正在申请专利,而大部分机密技术由于种种原因并不打算去申请,这些机密技术未来将逐渐释放出它们更大的价值。”

中新网
通过检索,北京鸿远蓝翔电动汽车技术公司的董事长朱和丰在2014年7月曾向媒体透露,他独家研发了一整套新能源汽车技术,一次充电可以持续行驶682公里,比特斯拉的续驶502公里记录足足多出了180公里,创造了世界级的新纪录。朱和丰还表示,国家检测他们的新能源车一次充电68.9千瓦时,换算出的能耗数据为101瓦时/公里,而美国特斯拉的相应能耗是169 瓦时/公里(相当于要充85千瓦时电,跑502公里),显然,在能耗数据上,鸿远蓝翔的自主创新技术也刷新了已有纪录,创造了“耗电最少、跑得最远”的“世界之最”。

第一电动网
公开信息显示,不仅拥有独门造车秘籍,朱董事长还号称是公共卫生专家,他的“商丘大卫化工厂”是全球最大的杀鼠剂生产企业,这家公司的核心产品是——溴鼠灵,一种有效成分含量0.005%的杀鼠剂,俗称“耗子药”。

社交媒体截图
而这家所谓市占率全球第一的杀鼠剂生产公司和朱钦澎的河南金鱼汽车一样,至今都未开设官网。
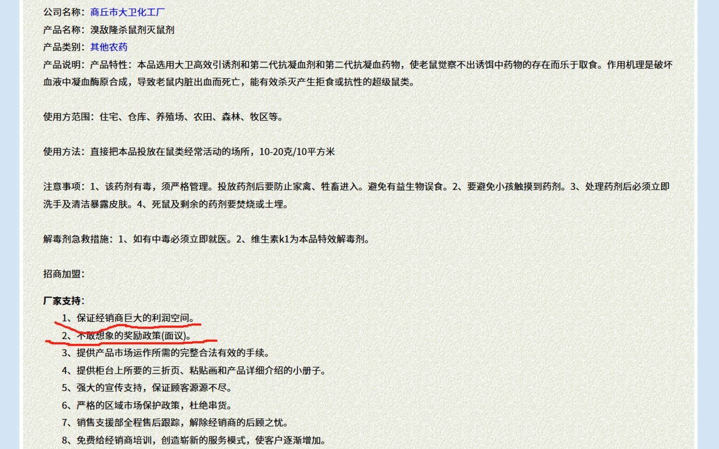
但作者通过网络检索,在农资一号网上发现了商丘市大卫化工厂的招商加盟宣传信息,在“厂家支持”一栏中赫然承诺:保证经销商巨大的利润空间以及不敢想象的奖励政策。

农资一号网截图
11年后的今天,与商丘大卫化工厂董事长朱和丰拥有相同手机号和邮箱的朱钦澎先生不仅广开金鱼汽车财富分享会,还携固态电池汽车重磅亮相郑州车展,其财富合伙人政策和溴鼠灵加盟商政策同样激进,心有灵犀。
灭鼠药和汽车这两个看似毫无关联的产业,因两位朱姓先生的奇妙缘分而开始产生交集。
时至今日,打开汽车之家与易车网,我们仍无法在这两家中国最大的汽车线上信息平台上搜寻到金鱼汽车正在销售的踪迹,那些在财富分享会上踊跃刷卡,幻想一夜暴富的“金鱼汽车的家人们”,兴许并没有叩开财富殿堂的大门,而是悄然转动了两位朱先生布下的、那台精妙财富机器的密钥。(本文首发于钛媒体APP,作者|马金男 )