
封面图片由AI生成
临近年底,建艺集团(002789.SZ)又摊上一件大事。
12月23日晚,公司公告称,公司收到中国证监会下发的《立案告知书》,因涉嫌信息披露违法违规,中国证监会决定对公司进行立案。
钛媒体APP查阅过往公告发现,近年来,建艺集团涉诉纠纷案件频发,光是今年以来公司就已披露10多则重大诉讼公告,其纠纷多半与前第一大客户恒大地产相关。可见,截至目前,建艺集团仍然笼罩在过去的那场“危机”之中。
更让人焦头烂额的是,公司被珠海国资“救场”即将满3年,到了该兑现业绩承诺的时刻,但按照建艺集团当前的业绩情况,完成指标的压力可谓不小。
12月24日,建艺集团一字跌停,报9.71元,公司已连续第3个交易日跌停,较12月10日的高点累计下跌超30%。
截至目前,建艺集团被立案的原因为涉嫌信息披露违法违规,但具体的内容尚不得知。从近年的动向看,建艺集团可没少吃官司。
据建艺集团最新发布的新增累计诉讼、仲裁情况的公告显示,截至12月9日,除已披露的诉讼、仲裁事项外,公司及控股子公司新增累计发生的诉讼、仲裁事项涉及金额合计约为人民币1274.43万元,约占公司最近一期经审计净资产绝对值的40.32%,均为涉案金额800万元以下案件。此外,建艺集团还多次被列为被执行人,目前被执行人记录有2条,被执行总金额为55.14万元。
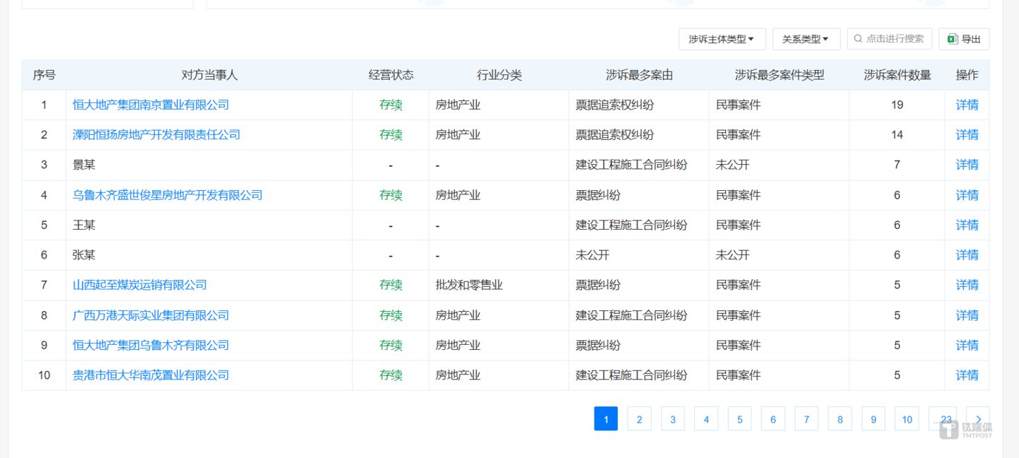
而根据天眼查数据,建艺集团涉诉227条的案件信息中,公司作为原告的占比达到60%,而与之纠纷最多的就是恒大地产南京公司,涉诉数量达到19条。

此外,恒大地产乌鲁木齐以及贵港恒大置业也和公司产生较多纠纷。而从具体的纠纷类型看,建艺集团与其他公司最多的纠纷类型为票据追索权纠纷,通俗地讲,就是讨要债款。

公司为了讨债频繁起诉,这一切还要从3年前的行业变革说起。钛媒体APP了解到,2020年以来,随着地产行业陷入危机,有超过200家装饰公司破产。
建艺集团作为国内最早成立的专业建筑装饰企业之一,曾和龙头地产商恒大地产关系密切。2020年,公司来自中国恒大集团的营业收入为10.42亿元,占营业总收入的比例为45.91%,光是恒大一家客户就为公司贡献了近一半的收入。
2021年,恒大“暴雷”后,建艺集团经营遭受重创,当年公司营收为19.48亿元,同比下降14.17%;净亏损9.81亿元,暴降3684.09%。不仅仅是营收和净利,当年公司在营收账款和负债率上的数据都不好看。
经营困境下,建艺集团选择了易主借力地方国资。2021年12月,建艺集团原控股股东刘海云与珠海正方集团有限公司(以下简称“正方集团”)签订了战略合作协议。
协议显示,刘海云将放弃其持有的公司4501.56万股股份表决权,控股股东将变更为珠海正方集团,实际控制人变更为珠海市香洲区国有资产管理办公室。正方集团累计耗资4.2亿元,完成对建艺集团的控制。
但从目前建艺集团的财务现状来看,“白衣骑士”的救场显然未达目标。
截至今年前三季度,公司应收票据及应收款账面价值达到38.14亿元,现金流净额为-3670.19万元,资产负债率高达97.14%,这就不难理解公司要通过持续的诉讼追债。虽然目前公司尚未公布此次被立案的具体原因,但或多或少和恒大的“暴雷”脱不开关系。
值得关注的是,珠海国资接盘建艺集团时,原实控人刘海云曾作出业绩承诺,即建艺集团装饰施工等现有主营业务在2022~2024年累计实现的净利润额不低于6000万元。当时,因为建艺集团盈利能力欠佳,此份业绩承诺还被监管部门质疑可实现性。
如今,业绩承诺的三年期限即将到期,但离当初的承诺目标距离较远。2022年,建艺集团扭亏为盈,净利润为1117.02万元,同比大涨101.14%。但2023年,建艺集团又由盈转亏,亏损高达5.63亿元,净利润同比下降5142.03%。据最新财报披露,2024年前三季度,虽然实现营业收入44.72亿元,但净利润仅为417.04万元。
或许为完成业绩承诺,刘海云甚至在近日选择无偿将自己的矿山资源注入公司,为公司开辟利润新引擎。
12月19日,建艺集团公告披露,刘海云及其100%控股的深圳市建艺投资控股有限公司(以下简称“建艺控股”)将合计持有的广东建艺石材有限公司(以下简称“建艺石材”)77%的股权无偿赠予建艺集团。本次无偿受赠股权资产,公司无需支付任何对价,并不附任何义务。
成立于2009年3月的建艺石材,是一家集矿山开采、石材加工、产品销售为一体的专业化石材企业。主营产品主要包括广东芝麻灰、梅州虾红等。如果按原料保守预计,建艺石材年销售收入也将达到2.5亿元;若按照加工为成品后,仅花岗岩板材每年销售收入可达8亿元。
受赠股权资产完成后,建艺集团直接持有建艺石材77%股权,公司净资产将增加约1123.59万元,归母净资产将增加约865.17万元。虽然矿山资源注入可以改善建艺集团资产结构,缓解负债压力,但建艺石材的净利润还不足以支撑其完成业绩承诺。
而目前,公司又要面临立案处罚,一旦处罚落地后,或许又会对公司的业绩产生一定影响,虽然建艺集团的各方都在努力帮助公司走出泥潭,但不难预见,公司未来的发展道路仍然充满挑战。(本文首发钛媒体APP,作者|于莹)