
近期,江苏建院营造股份有限公司(下称“建院股份”)更新披露了招股说明书,拟北交所IPO上市,公开发行不超过3000万股。
钛媒体APP注意到,建院股份的业绩主要依靠单个城市,招股书披露的数据显示公司每年至少有6成的收入来自苏州。资产方面,应收账款和合同资产是建院股份最大的两大资产,而这两项资产的坏账准备合计已超过2亿元,同时,在应收账款欠款方深陷破产重组时,建院股份对其的计提方式也颇受质疑。
建院股份是一家专注于岩土工程领域的高新技术企业,主要围绕地基与基础工程,提供涵盖勘察、设计及施工相关的专业化工程服务,已形成岩土工程一体化服务模式,并在复杂地质条件下的深、大基坑工程方面积累了较为丰富的工程经验。
2021年-2023年(下称“报告期”),建院股份分别实现营业收入13.95亿元、12.02亿元、14.16亿元,净利润分别为6054.59万元、5946.38万元、6428.95万元,业绩存在波动。
从区域上看,建院股份在江苏地区产生的销售收入分别为12.49亿元、10.84亿元、13.64亿元,分别占当期主营业务收入的89.53%、90.22%、96.42%,其中在苏州产生的销售收入分别为10.61亿元、8.04亿元、12.66亿元,分别占当期主营业务收入的76.02%、66.88%、89.46%。

这也意味着,建院股份的收入几乎来自江苏地区,且绝大部分来自苏州。
对此,北交所要求建院股份进一步测算并说明苏州市房地产投资(住宅、商业建筑)、制造业投资(工业建筑)以及基础设施投资的市场空间规模,结合发行人市场占有率、苏州市内的竞争格局、与竞争对手的优劣势,说明发行人在苏州市内是否存在进一步增长空间。
虽然建院股份还未“走出”江苏,但公司在江苏的盈利能力逐渐走强。报告期内,建院股份的毛利率分别为10%、12.51%、14.2%,同行可比公司平均值平均值分别为15.85%、7.14%、8.88%。也就是说,建院股份的毛利率持续增长,并且自2022年起开始反超同行均值。

值得一提的是,报告期内,建院股份的研发费用率分别为1.44%、1.6%、1.99%,同行可比公司平均值分别为3.17%、4.68%、3.9%,研发费用率始终低于同行均值。这就不禁令人疑惑,在研发费用率始终低于同行均值且2022年同行毛利率均值暴跌的情况下,建院股份2022年的毛利率是如何保持增长?
资产架构方面,报告期内,建院股份的应收账款分别为30915.99万元、37941.43万元、48164.33万元,合同资产分别为61012.65万元、60103.89万元、62129.61万元,两者合计分别为91928.64万元、98045.31万元、110293.94万元,占当期资产总额的77.87%、81.2%、78.61%,为建院股份最主要的两大资产。

需要指出的是,报告期内,建院股份合同资产的跌价准备金额分别为8402.13万元、10122.15万元、12765.61万元,2022年和2023年的跌价准备金额均超过了1亿元;应收账款的坏账准备金额分别为8748.1万元、8515.17万元、9602.07万元,坏账准备金额始终超过了8500万元,特别是2023年,建院股份的坏账准备也快超过了1亿元。

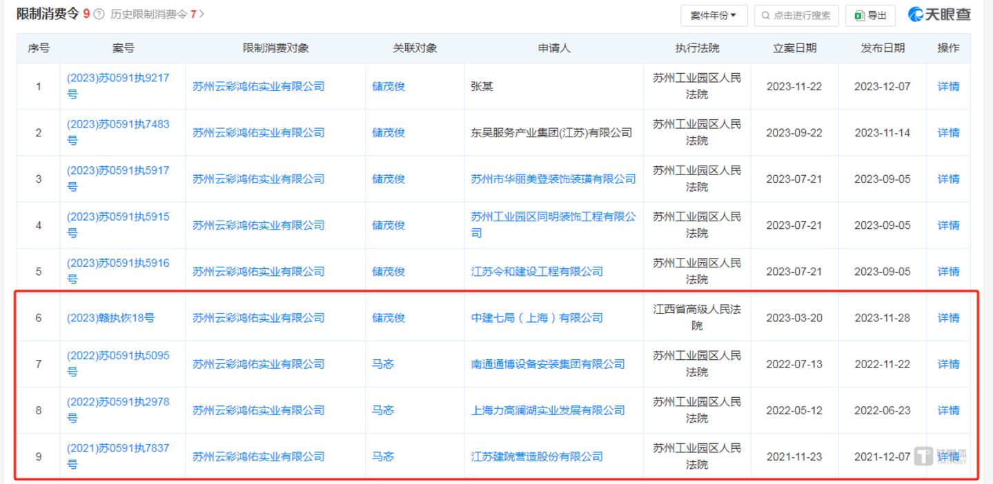
特别要说明的是,在建院股份应收账款的公司名单中,苏州云彩鸿佑实业有限公司(下称“苏州云彩鸿佑”)格外引人注目。报告期内,苏州云彩鸿佑始终在建院股份的前五大应收账款欠款方的名单中,具体情况如下:

据了解,苏州云彩鸿佑为失信被执行人,被列入经营异常名录,已破产重组由管理人接管。另外,天眼查显示,自2021年12月起,苏州云彩鸿佑先后多次被出具限制消费令。而从上述应收账款的余额看,建院股份在2022年依旧和苏州云彩鸿佑在做生意。这不仅令人困惑,被限制消费的情况下,为何建院股份还会与苏州云彩鸿佑进行合作?

另外,2023年,从建院股份与苏州云彩鸿佑的应收账款余额和坏账准备看,建院股份对苏州云彩鸿佑坏账准备的计提比例大约50%左右。

然而,天眼查显示,2023年,苏州云彩鸿佑正陷入破产案件之中。

同时,在建院股份的问询函中,北交所也直接点出苏州云彩鸿佑为失信被执行人,被列入经营异常名录,已破产重组由管理人接管,以及在2024年6月末对其应收账款仍按账龄计提50%坏账。在如此背景之下,为何建院股份还只对苏州云彩鸿佑进行50%的坏账计提?

对此,北交所也要求建院股份结合优先受偿权的可实现性、债务偿还能力、与其他客户的信用风险差异,说明 2024年6月末对苏州云彩鸿佑应收账款仍按账龄计提50%坏账的合理性,未单项计提的原因。
除此之外,建院股份的应收账款始终超过一半。报告期内,建院股份信用期外应收账款的金额分别为2.02亿元、3.08亿元、3.65亿元,分别占当期应收账款余额的51.05%、66.37%、63.25%。

建院股份此次北交所IPO欲募集26839.62万元分别用于总部运营中心建设项目、设备服务能力升级项目、研发中心建设项目、偿还银行贷款、补充流动资金,具体情况如下:

其中,建院股份共有6000万元的募资额用于偿还银行贷款以及补充流动资金,占募资总额的22.35%。
为何建院股份要募集如此多的资金用于还贷以及补流,这还要从建院股份的债务说起。招股说明书显示,报告期内,建院股份的流动比率分别为1.26、1.3、1.32,同行可比公司平均值分别为1.76、1.61、1.86;速动比率分别为1.25、1.3、1.31,同行可比公司平均值分别为1.65、1.49、1.82。无论是流动比率还是速动比率,建院股份均远低于同行均值。
另外,在上述时间段内,建院股份的资产负债率分别为74.95%、71.17%、70.59%,同行可比公司平均值分别为55.07%、56.43%、56.3%,建院股份的资产负债率至少高于同行均值14.29个百分点,债务压力非同一般。(本文首发于钛媒体 APP,作者|邓皓天)
上一篇:荣耀“上市”,赵明“离场”
下一篇:买格陵兰岛,特朗普是认真的