联想关联公司申请“您都对”、“客户都对”相关商标
admin
2021-04-09 11:57:22

原标题:联想关联公司申请“您都对”、“客户都对”相关商标

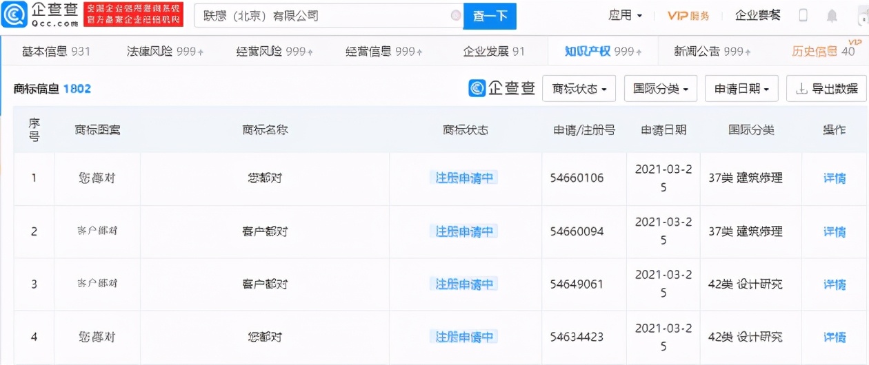
【TechWeb】4月8日消息,企查查APP显示,近日,联想(北京)有限公司新增“您都对”、“客户都对”商标申请信息,国际分类涉及网站服务、建筑修理等,当前商标状态为“注册申请中”。

来源:TechWeb

相关内容

热门资讯

成都医生用上DeepSeek,... 2月22日消息,近日,四川省人民医院泌尿外科团队成功利用DeepSeek人工智能系统和虚拟三维重建技...
中国科研新成果:量子直接通信有... 2月22日消息,从北京量子信息科学研究院获悉,我国科研团队提出了单向量子直接通信理论,并成功研制出实...
巴菲特股东信:可能会增加对日本... 2月22日消息,巴菲特发表年度股东信,其中提到,自伯克希尔开始购入五家日本公司的股票以来,差不多已经...
伯克希尔:2024年第四季度没... 2月22日消息,伯克希尔表示,在2024年第四季度没有进行股票回购,在截至2月10日的第一季度也没有...
国家能源集团官网已删除被质疑拟... 2月22日消息,近日,国家能源集团置业有限公司一份高校毕业生统招拟录用名单引发关注,有网友对拟录用名...