文/瑞财经 程孟瑶
左手并购,右手募资,曾经的“果链巨头”领益智造(002600.SZ)在业务转型中也玩起了的资本游戏。
10月29日晚间,领益智造抛出一则消息,拟斥资24.04亿,收购汽车传动轴核心部件厂商浙江向隆机械有限公司(简称:浙江向隆)96.15%的股权,同时披露的还有领益智造拟发行H股股票并在联交所上市的议案。
近日,领益智造出现在港交所排队名单中,正式迈出港股IPO第一步,时隔四年多再次冲击港股IPO,“果链女王”曾芳勤能如愿以偿,在新赛道上复制“果链”的成功吗?
冲击港股IPO的背后,是领益智造向汽车电子、新能源等领域寻找增长的迫切需求。
近年来,全球智能手机出货量连续呈现同比下滑态势,叠加消费电子市场的存量竞争加剧,依赖苹果供应链的领益智造也面临业绩压力。
在此背景下,领益智造通过多次并购加速向整车企业一级供应商转型,此次IPO也成为领益智造业务转型中的重要一笔。
截至2025年12月15日,领益智造A股报收15.19元/股,年内累涨超80%,总市值1110亿元。
01
41岁“果链”创业
从借壳到赴港上市
领益智造的背后是“果链三女王”之一曾芳勤,身为创始人,今年60岁的她依然冲在一线,作为领益智造的董事长、执行董事兼总经理,负责公司的战略发展规划及经营管理,在成功带领领益智造实现借壳上市后,依然是公司此次赴港IPO的核心人物。
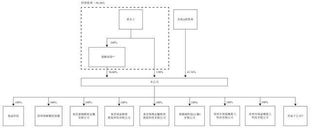
截至递表曾芳勤直接持有领益智造1.98%股份,并通过持有领胜投资100%权益,合计控制领益智造58.64%的股份,为最终实益控股股东。

今年10月,胡润研究院发布的《2025胡润女企业家榜》中,她与蓝思科技(300433.SZ,06613.HK)周群飞,立讯精密(002475.SZ)王来春,分别位列第二、第四、第六,对应财富分别1100亿元、855亿元、695亿元。
与周群飞、王来春从富士康“厂妹”逆袭为“果链女王”的故事略有不同,曾芳勤在创办领益智造之前,先是放弃了分配而来的深圳国企铁饭碗,加入留学大军赴美深造;后来又辞去了在美时精密的高薪职位,41岁时在东莞成立了深圳领胜电子,踏上创业之路。
2006年,时任美时精密中国区总经理的曾芳勤,听闻诺基亚正在寻找热熔胶业务的合作伙伴,捕捉到中国智能制造的巨大潜力,果断辞职在深圳成立了领胜电子,80名员工和10台机器便是现在领益智造的起点。
在曾芳勤的带领下,领胜电子拿下诺基亚、耐普罗、比亚迪、富士康等大客户订单,在行业中稳了脚跟。2007年,领胜电子凭借90%的良品率成为Macbook零部件的供应商,并以此为突破口敲开苹果大门,逐渐将业务扩展到iPhone、iPad、AppleWatch、Apple Vision Pro、AirPods等产品,成为苹果产业链中的重要成员。
据弗若斯特沙利文数据,2012年领胜电子的手机模切业务以收入计位居全球业界第一,但曾芳勤却压力倍增。因为同行中的立讯精密、长盈精密(300115.SZ)、环旭电子(601231.SH)等果链企业相继成功上市,让她察觉到单一赛道的风险,同时也意识到企业的进一步快速发展,必须上市融资。
2012年领益科技诞生,并成立领益科技集团,经由一系列股权转让,领益科技成为领益科技集团(包括领胜电子)的控股公司。2018年3月,领益科技完成对A股上市公司江粉磁材的“蛇吞象”式收购,实现借壳上市,并更名为领益智造。
上市之后,领益智造又开启了一系列并购行动。先后收购了苏州一道、珠海伟创力等多家国内公司,获得了整机组装能力;同时,还将全球大型充电器制造厂商赛尔康收入囊中,进一步拓展了海外市场。
2021年6月,领益智造首次向港交所提交了上市申请。但2022年4月,鉴于当时资本市场环境变化并综合考虑实际情况及目前业务发展规划等,领益智造主动终止了赴港上市事项。
时隔4年多,领益智造再次出现在港交所排队名单中,如今的领益智造,已成为全球AI终端高精密功能件市场的领军企业,公司总市值超1100亿元,曾芳勤个人财富也一路跃升,成为名副其实的江门女首富。
02
九成收入来自AI硬件
转型压注智能汽车赛道
领益智造致力于为全球客户提供一站式生产服务与解决方案,平台广泛应用于AI硬件(涵盖AI终端设备、机器人及企业级商用服务器)、汽车以及低空经济等核心前沿领域。
其自称“巨人背后的隐形冠军”,截至2025年9月30日,客户涵盖全球市值最大的AI终端设备行业公司、新能源汽车行业公司、社交网络行业公司及XR行业公司等行业领袖。
2022年-2024年以及2025年1-9月(简称:报告期),领益智造分别实现营业收入354.03亿元、341.54亿元、442.60亿元、375.90亿元;对应净利润15.60亿元、20.24亿元、17.61亿元、19.66亿元。

AI硬件是领益智造的主要收入来源,各期分别贡献了314.79亿元、307.13亿元、407.8亿元、329.15亿元营业收入,占比91.2%、89.9%、92.1%、87.6%。
据弗若斯特沙利文数据,以2024年收入计,领益智造在全球AI终端设备高精密功能件市场行业中排名第一,市场份额6.7%;在全球AI终端设备高精密智能制造平台行业中排名第三,市场份额1.5%。
领益智造的AI硬件板块聚焦三大终端市场:AI终端设备、机器人、企业级服务器。2009年领益智造就进入了工业机器人领域,并成功研发出第一代工业机器人;2019年,又与Hanson展开合作,其子公司领鹏科技操刀了第一例整机组装;今年9月,珠海新产线投产首条具身智能机器人整机线,单线日产能达到5000台,领益智造成为国内极少数具备大规模整机交付能力的公司之一。
与此同时,近年来智能汽车产业快速增长,领益智造的汽车及低空经济业务快速增长,各期分别贡献了3.1%、4.1%、4.8%、5.2%的营业收入,对应金额10.79亿元、13.85亿元、21.17亿元、19.7亿元。
领益智造的智能汽车业务涉及动力电池结构件产品,包括方壳、电芯钢/铝外壳、顶盖、注塑件等汽车相关精密结构件,同时,还涉及车内电子元器件,如无线快充和自研快充线圈等。而低空经济主要是制造无人机的碳纤维旋转桨叶。
在汽车业务上,领益智造同样选择了并购切入。2021年收购浙江锦泰,切入新能源电池结构件领域;今年又启动对汽车饰件企业江苏科达的收购计划,目前已获得深圳证券交易所并购重组委审核通过;近期,又宣布拟以24.04亿元全现金收购浙江向隆,补齐了汽车传动系统的关键拼图。

大手笔推进汽车业务,但值得注意的是,领益智造汽车及低空经济业务毛利率不如AI硬件的毛利率,2024年上半年,毛利率一度为负。不过其AI硬件毛利率在2022年-2024年连续下滑,影响公司综合毛利率持续下滑。
03
近半数收入来自海外市场
百亿应收占比近三成营收
总收入整体保持稳定性,但领益智造地区收入构成发生变化,其中来自中国内地收入占比从2022年的73.8%减少至2024年的62.1%,2025年上半年为52.47%,与海外收入占比之间差距不断拉小。
海外市场带来的业绩甜头,也让领益智造将并购的视野投向了全球。此次赴港,领益智造计划在全球范围内寻找与自身业务契合的高增长科技标的,如AI光通信基础设施、服务器及机器人领域的潜力企业。
但值得警惕的是领益智造的流动性隐忧,虽然自身造血能力不错,但其短期债务承压。
2025年1-9月,领益智造经营性现金流净流入22.97亿元,同比增加60.19%,但同期其投资活动所用现金净额达66.05亿元,期末现金及现金等价物较期初减少23.57亿元。
截至2025年9月30日,领益智造流动资产中,手中现金及银行结余36.63亿元,其他金融资产26.56亿元,还有9.18亿元受限制银行存款,合计72.37亿元;同期流动负债中,短期借款73.30亿元,较年初的31.95亿元增加129.43%,流动租赁负债3.31亿元,短期刚性债务存在一定缺口。


而领益智造还要拿出24.04亿元现金,收购浙江向隆96.15%股权,钱从哪里来?目前其账面上11.95亿元定期存款,尚且无法覆盖第一笔67%的款项,对应金额16.11亿元。
领益智造坦言,公司大部分营运资金来自经营活动产生的现金流,但也利用外部银行贷款、其他借款及债券满足融资需求,其盈利能力受到市场资金成本波动的影响。报告期内,其融资成本分别为3.57亿元、3.49亿元、3.04亿元、2.66亿元,2025年1-9月,银行贷款及其他借款的利息开支1.99亿元。
此外作为苹果供应链的核心力量,虽然招股书中没有明确提及,但领益智造的收入依然对苹果存在依赖。深交所有关监管函曾披露,领益智造2018年借壳江粉磁材上市时,其核心资产领益科技第一大客户正是苹果。
值得警惕的还有领益智造客户集中度不断加强以及客户与供应商的重叠问题。
各期,领益智造来自前五大客户收入占比分别为49.1%、52.0%、56.0%、56.4%,其中来自最大客户“客户A”的收入占比长期维持在20%左右,对应收入84.25亿元、82.65亿元、97.58亿元、69.19亿元。
客户A是一家于台湾证券交易所上市、总部位于中国台湾的技术服务公司,提供电子制造服务。
其前五大客户中不少同时为公司供应商,特别2022年,领益智造的前五大客户和前五大供应商完全重合。
各期,领益智造来自有关重叠客户和供货商的采购额分别为2.65亿元、16亿元、67亿元、54亿元,分别占总采购额的1.4%、7.6%、24.0%、21.8%。
这种既是买家又是卖家的“业务合作下”,领益智造账面上长期躺着大额应收账款和应付账款。
截止期末,领益智造贸易及其他应付款项规模137.64亿元,贸易及其他应收款项规模144.61亿元,占营收的比例约为28.85%(已年化处理)。
附:领益智造上市发行有关中介机构清单
独家保荐人:国泰君安融资有限公司
法律顾问:Cooley HK|嘉源律师事务所
核数师及申报会计师:容诚(香港)会计师事务所有限公司