“ 宝能集团董事长姚振华就“观致汽车破产重整中核心资产估值低估”一事,向最高人民法院、江苏省高级人民法院实名举报。”
1月14日,宝能集团董事长、观致汽车实控人姚振华通过中国宝能公众号发布实名举报视频,向最高人民法院、江苏省高级人民法院举报,指观致汽车2.7亿元执行案件中存在违法操作,导致企业资产将被低价拍卖。
姚振华在举报中称,常熟相关部门在观致汽车2.7亿元执行案件中,违法成立清算工作组并超额查封核心资产;第三方评估价值80亿元的土地、厂房及设备等资产,被低评为15亿元,起拍价仅8.6亿元,将于2026年1月15日10时开拍,涉嫌低价侵吞资产后再进行破产清算。

姚振华强调,企业仍具备重整价值,仅需20亿元投入即可在10个月内复产。目前,已有占债权总额超60%的33家债权人向苏州中院申请破产重整,并向常州法院提交执行异议申请。
姚振华表示,此次举报系团队多次沟通无果后发起,呼吁制止违法拍卖行为,依法保护股东及1500家供应商合计139亿元债权的合法权益。
2025年12月30日,观致汽车常熟工厂进行了第一次拍卖,起拍价约10.75亿元,保证金约为2.15亿元,但遭到流拍。而观致汽车常熟工厂二拍起始价约8.6亿元,相较一拍起始价打了八折,保证金也下降至1.72亿元,加价幅度是100万,将于2026年1月15日10点开拍,竞价周期是1天。

观致汽车有限公司成立于2007年12月,最初名为“奇瑞量子汽车有限公司”,由奇瑞汽车与以色列集团合资成立。2017年,宝能集团以66.3亿元收购观致汽车51%股份,成为后者的控股股东。目前,该公司由杭州诚茂投资有限公司、芜湖奇瑞汽车投资有限公司、QUANTUM(2007)LLC共同持股。
2014年观致汽车亏损22亿元,2015年亏损25亿元,2016年亏损达19亿元。宝能集团的到来,确实让观致汽车在2018年销量大增至6万余辆,但这主要是来源于宝能旗下的联动云租车公司的大规模采购。这样的销量增长仅持续了一年,2019年观致汽车销量跌至2.27万辆,2020年进一步下滑至1.31万辆,2021年仅5200辆。
2020年宝能陷入流动性危机后,观致汽车也失去了资金支持,此后基本上进入了停产阶段。
企查查显示,该公司现存30余条被执行人信息,被执行总金额超7亿元,此外,该公司还存在多条失信被执行人(老赖)、终本案件及股权冻结信息。
2025年12月22日,江苏省苏州市中级人民法院正式受理观致汽车破产审查申请,申请方为深圳欣本供应链有限公司,主要原因是观致汽车长期拖欠货款且无力清偿债务。
姚振华的资本帝国
姚振华出生于广东潮汕,靠卖蔬菜起家,和弟弟姚建辉一起搞出净菜连锁超市。1992年,深圳实施“菜篮子工程”,姚振华敏锐地看到了商机。
他通过关系以“菜篮子工程用地”的名义,拿到了福田区皇岗渔场、龙岗中心城两块土地的使用权。拿到地之后,蔬菜超市直接关门,开始搞起了房地产开发。直到2000年,姚氏兄弟的地产生意正式以“宝能”命名。

宝能赶上了中国房地产行业的黄金时代,斩获颇丰。直到2012年,姚振华拿下保险牌照,正式成立前海人寿,宣告“宝能系”帝国真正诞生。
凭借前海人寿提供的现金流,姚振华在 A 股市场掀起了一场又一场收购战,尤其以 “宝万之争” 最为著名。姚振华一度被不少上市公司斥责为“门口的野蛮人”。
2017年,姚振华通过大手笔的“买买买”,斥资600亿元在昆明、杭州、广州等地成立新能源汽车产业基地,遗憾的是,宝能系汽车业务持续亏损且未能达到预期收益,成为吞噬宝能系现金流的巨大黑洞。
再加上“宝万之争”后,钜盛华、深业物流的债务危机爆发,前海人寿业绩下滑,以及房地产行业的不景气,2021年宝能集团危机开始显现。
2023年7月31日,在宝能集团大楼门前,姚振华被要债人员围住。他多次试图冲出重围,都以失败告终。在拉扯中,姚振华眼镜被打掉,眼角受轻伤,他对着围堵人员大喊:“你们这是犯法,干嘛呀你!”,而围堵要债的人则回怼称:“欠薪两年不犯法?”
被打之后,姚振华十分愤怒,直接在办公室开会发火:“天理都没了。没有看到现在社会的艰难,你不创造生产,除了会要钱还会干什么 ?”并随机宣布进行裁员。

随着债务问题彻底浮出水面,宝能系信用评级被下调,金融机构对其房贷更加谨慎。这也导致宝能系的流动性出现挤兑,姚振华不得不贱卖资产,以应对流动性危机和巨额债务。
有统计显示,截至2024年,宝能系总负债已超2000亿元,而可变现资产估值不足800亿元。
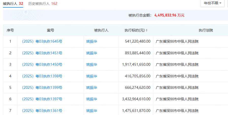
企查查显示,姚振华已经是失信被执行人,被执行总金额高达450亿。

作为曾经的全国第四大富豪,姚振华为其疯狂的资本赌局付出了惨痛代价。未来的宝能系将何去何从,仍然是困扰在姚振华心头的最大难题!