
日前,湾财社记者据上海联合产权交易所披露信息发现,招商证券于2026年2月份正式挂牌转让位于深圳的五处不动产,转让底价合计约1.48亿元,挂牌期截止日期均为3月17日。
这一动作并非个案,湾财社注意到自2025年以来,方正证券、华西证券、红塔证券等多家券商先后推进非核心房产出售、出租,行业“盘活存量、聚焦主业”的趋势愈发清晰。
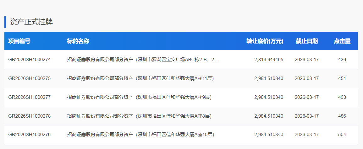
招商证券挂牌出售深圳五处不动产
根据上海联合产权交易所披露的信息显示,招商证券挂牌的5处房产均位于深圳市核心区,其中4处位于福田区,一处位于罗湖区。
具体来看,福田区的4处房产均位于佳和华强大厦A座,分别为8层、9层、10层、11层;罗湖区的地产则位于宝安广场ABC栋2-B、2-C、2-D。
这5处地产的挂牌价格在2800万-3000万之间,合计出售价格约1.48亿元。其中,佳和华强大厦的4处房产均挂2984.51万元,宝安广场的相关房产则挂2813.94万元。

湾财社通过招商证券的招股书发现,招商证券曾拥有佳和华强大厦的面积合计3452.9平方米的39项房产,1997年购买时其产权证所登记的权利人为其公司前身,即国通证券有限责任公司。
在早期,由于该处房产所属整栋物业的开发商深圳佳和房地产开发公司与深圳市国土局房地产交易中心存在纠纷,深圳市国土局房地产交易中心曾暂停过该栋物业的所有房产的过户办理。
值得注意的是,招商证券此前公布了2025年度业绩快报,预计实现营业总收入249亿元,实现归属于母公司股东的净高达123亿元。这也意味着,1.48亿元的房产出售对于招商证券整体业绩的影响程度较小。
多家券商密集落地房产处置
事实上,湾财社发现自2025年以来,已经先后有方正证券、华西证券、红塔证券等多家券商处置非核心不动产,模式涵盖整售、零散处置、长期出租等多种形式。
从时间上来看,最近的一期相关公告发生在2026年2月12日。彼时,红塔证券发布公告称,董事会同意公司通过产权交易中心挂牌方式处置公司所拥有的部分房产,后者已于近日在北京产权交易所完成挂牌,挂牌价格合计26279.19万元人民币。
据此前的公告显示,红塔证券拟通过在产权交易中心挂牌转让方式处置的房产有6处,房屋权属证明所载建筑面积合计14197.57平方米。红塔证券强调,“本次资产处置有利于盘活闲置资产,提升资产运营效率”。
从交易规模来看,最大的房地产处置案例发生在方正证券。2025年2月17日,方正证券公告称,全资子公司方正承销保荐以7.3亿元成功出售郑州裕达国贸中心101处房屋及会议中心。对于此举,方正证券强调,“为聚焦主业,盘活抵债资产”。
不论是红塔证券,还是方正证券,对于交易目的均强调了“盘活资产”,而这正是当前券商处置房产的重要理由。有业内人士指出,券商集中处置房产呈现三大特点:处置标的以非核心资产为主、交易模式灵活多元、对地产市场冲击有限。
此外,对于券商处置房产的意义,上述人士进一步强调道,监管在积极引导券商回归主业、聚焦证券本源,在此背景下部分券商有意压降非金融类重资产配置;从券商自身经营来看,老旧办公用房、抵债资产、跨区域闲置物业占压资金,处置后不仅能降低维护成本,还能提升资产周转。
采写:南都·湾财社记者 吴鸿森